输入验证码,即可复制
微信扫码关注,即可获得验证码
只需要3秒时间
返回列表 发布新帖

[茶话古城] 华夏文旅将会给西安带来了什么

13627 14
发表于 2019-1-18 11:48:43 | 显示全部楼层 阅读模式 | 来自陕西

西安人都注册了,还不快来?

您需要 登录 才可以下载或查看,没有账号?注册

×
华夏文旅来西安一年多了,这一年来给西安的旅游市场带来了哪些变化?在陕旅、曲文旅、西旅三足鼎立之下,华夏文旅又是如何定位,凸出自身亮点的?华夏文旅的强势入驻又给那=哪些景区带来了高压?景区又该如何借势营销,实现口碑与利润双赢?
[size=0.8]西安旅游资源优势明显,依托资源,西安形成了以文物资源为主,文化资源、自然资源、科技教育资源等多种资源齐备的较为完整的旅游资源结构。秦始皇陵博物院、华清宫、城墙、陕历博、大雁塔、大唐芙蓉园景区都是世界著名的历史文化景区。


另外,由于西安地处关中盆地,南依秦岭,其自然旅游资源也饱含着深厚的文化底蕴,自然因素与深厚的文化积淀和谐地融为一体,形成独特的魅力。像翠华山地质公园、朱雀、太平、王顺山等4A级自然景区,都是西安市优质的自然资源景区。


再加上乡村游、民俗游可以说是近年来西安旅游市场的一大热点,利用假期到周边区县采摘赏花、民俗体验、田园风光、休闲度假等已成为不少西安市民假日出游的选择。
总的来说,西安市多种旅游形态全面开花,那么华夏文旅优势如何强势入住西安的?又给西安的旅游市场带来了什么变化?
华夏文旅都有什么
据悉,除了目前已经开始营业的华夏文旅大剧院和西安华夏文旅海洋公园,华夏文旅在西安还将继续建成西安华夏文旅水世界、西安先祖部落景区、广运古镇及酒店餐饮购物等配套设施。


从华夏文旅的各项资源看,仿佛并不占优势。大型实景演出《驼铃传奇》行业内有陕旅《华清宫》这个金字招牌,同时,陕旅也在其他景区积极开展大型景区演艺,拥有着丰富的演出经验。所以《驼铃传奇》要在西安旅游市场行业内扎根立足,陕旅无疑是一个最大的竞争对手。但华夏文旅实景演出起步也早,自2010年一部曲《神游华夏》问世以来,依托独特的观演模式、新颖的剧目编排、高科技的创新优势,受到了行业专家、旅行社及游客的一致好评。短短几年,《神游华夏》升级后的《神游传奇》秀、《闽南传奇》秀、《驼铃传奇》秀便花开三处,在全国形成三足鼎立之势。
《驼铃传奇》的演出延续了华夏文旅非常擅长的惯用手法,用“会跑”的观众看台,打破传统的实景方式,世界首创超大型室内环形舞台,国际领先的水陆空全方位的三维立体交叉演出,以解构剧场的表达方式呈现剧情。简单说,就是高科技,大排场,场景好玩,游客在里面可感受5D版本的实景演出,加上剧情较为震撼,立马将自己与其他景区演艺区分开了。


其次,海洋王国,在华夏文旅海洋公园入住前,西安市仅有曲江海洋极地公园一家以海洋动物为资源展示园区,但近两年来,由于曲江海洋极地公园经营管理能力存在问题,导致景区的吸引力差,游客口碑下滑,在一定程度上也成就了华夏文旅海洋公园的人气和热度。大型水上乐园、亲子游玩设施闯关节目则与乐华城水上乐园活动内容有着较高的相似性,但就目前而言,这两个项目的主力客群不会有太大的冲突,首先华夏文旅的水上乐园还未建成,其次华夏文旅区域优势较为明显,再则,乐华城一开始就不是准备往亲子市场方向发展的。


再关于广运古镇,那西安市再加周边,能拿出来的景区就更多了。丝路小镇、大唐西市、白鹿原、袁家村等等,古镇的深度运营,还得靠文化IP。浐灞关于盛唐的的文化故事,西安人能想到的也只能是灞桥飞柳送故人,广运潭水送深情了吧。唯一和其他项目有所不同的是,先祖部落景区。陕西这个地方,除了半坡、蓝田这两个地方能和先祖挂上一点文化关系之外,浐灞,好像真的没有故事能和先祖扯上关系。只希望到时不要再是一些商业街区摆上几个先祖部落雕像,盖上几个毛棚子,卖起了看似先祖文部落文化的小礼物,以及各大小商业街区多能看到的陕!西!小!吃!
[size=0.8]为何落在浐灞
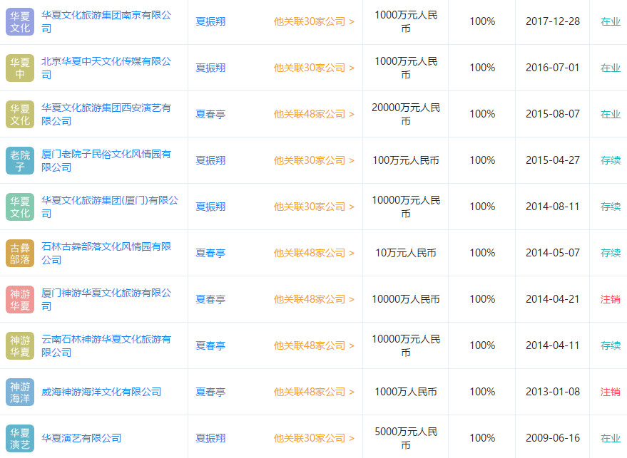
[size=0.8]华夏文旅华夏集团成立于1985年,注资成立华夏文旅集团。华夏文旅集团涵盖文化旅游,华夏演艺,主题公园旅游风景区投资运营管理,旅游餐饮酒店,旅游产品开发、托管运营等全链条的文化旅游产业集群,率先提出并确立了打造“城市文化旅游综合体”独特的文化旅游经营模式。




2014年,以山东威海作为大本营的华夏文旅集团迈出了“走出去”的第一步,首站瞄准了一线旅游城市厦门。2015年9月3日,总投资13亿元的华夏文旅厦门老院子景区对外试营业。并先后荣升国家级5A、4A景区。
2015年,华夏文旅瞅准了机会。根据国家“一带一路”的发展理念,华夏文旅集团乘胜追击,将省外扩张的触角延伸至新一线旅游城市、十三朝古都,西安。华夏文旅景区作为西安市重点项目,以28亿元的巨额投资成为当年西安最引人关注的旅游项目之一。
[size=0.8]华夏文旅定位于西安浐灞,有其必然性。


第一,相同的命理造就了同样的辉煌。在山东威海发家的华夏城,其前身是一处巨大的采石场,历经12年改造,如今已成为颇具知名度的5A级景区,大小水库35座,植被千万棵——作为“绿水青山就是金山银山”的经典案例,被国家领导点赞。老西安人都知道,浐灞,多年前也是西安生态的“重灾区”,沙场横亘、垃圾萦绕。政府斥巨资对其进行生态修复,后晋升成为优等生——用数据说明,这里如今坐拥西安世博园、浐灞国家湿地公园、桃花潭等5大休闲公园,累计建成水面1200多公顷,园林绿化2000多公顷,区域鸟类由63种增加到206种……


第二,浐灞,先天资源下西安旅游的后手局。西安这座古城风味醇厚的地方,想要留住游客,要从观光游走向体验游,必须要从“景区城市”走向“旅游城市”。在全域旅游的东风下,西安亟需打造一个集休闲生态、文化旅游于一体的综合度假区。浐灞独具这个资源优势,八水绕长安,浐灞就有两条。桃花潭、广运潭等自然景观,加上世园会遗址、湿地公园等资源,还有其他承载旅游业态的诸多商业设施,亦陆续出现在浐灞版图上,浐灞当之无愧成为西安对外的一张生态区。


第三,官方倾斜给华夏文旅新的机会。长期以来,浐灞被赋予了更多的“国际化”功能,如欧亚经济论坛、西安领事馆区、丝路国际会展中心等,诸多大型涉外会事、设施均被布局在此。去年腾讯双创小镇部署浐灞,相信也是看中了这块风水宝地的地理优势。同时在18年10月举行的第一界世界文化旅游大会上,浐灞宣布成为永久会址。众所周知,会展与旅游关联度极高,随着两相助长,或可为浐灞带来更多积极变数。
华侨城、恒大、乐华城进驻西咸,曲文旅扎根曲江,华夏文旅顺势扎根浐灞。有其偶然性,更有其必然性。
华夏文旅带来的动力和压力
在过去的2018年,虽然《驼铃传奇》上映时间较短,但据巷议数据监测,观众口碑已经排到了全省演艺节目的第四名。定位明确,风格明显,凭借高科技积淀、全新的观众体验,《驼铃传奇》已经走出了一条与其他演艺节目不同的道路。对于省内其他演艺节目而言,这匹黑马不得不引起重视和反思,既然都是演艺剧目,势必会瓜分客群市场,而在这场优胜劣汰的残酷竞争中,谁能带给游客更好的体验感,更新鲜的观看感受,不断地创新,将沉浸式演艺发挥到极致,谁才能立于不败之地。
对比曲江海洋极地公园,华夏文旅的海洋公园的口碑算是出类拔萃了。在过去的一年里,口碑一直力压曲江海洋极地公园。公园建成面积大、没有异味、表演给力、游乐设施好玩都是华夏文旅海洋公园口碑优于曲江海洋馆的重要原因。



更多行业数据资讯,添加“巷议酱”。

本帖点赞记录
点赞给态度,登录/注册 就能点赞
孤树绿洲 2019-1-20 07:56 赞同 +1
城市骆驼 2019-1-19 17:24 赞同 +1
云裳醉影 2019-1-19 13:01 赞同 +1
他山之石 2019-1-19 11:16 赞同 +1
墨鱼778 2019-1-19 11:14 赞同 +1
浐灞之滨 2019-1-19 10:47 赞同 +1
飙驰 2019-1-19 10:41 赞同 +1
微红wh 2019-1-19 00:33 赞同 +1
移动宽带贺 2019-1-18 22:15 赞同 +1
漂浮落叶 2019-1-18 16:38 赞同 +1
长安新星 2019-1-18 15:45 赞同 +1

评论14

马克赛Lv.6 发表于 2019-1-18 12:34:57 | 显示全部楼层 | 来自上海
不知道怎么样,虽然比乐华近,但是感觉交通不方便啊,而且周围人好像对这个都不太了解,感觉华夏文旅还是得好好宣传一下,
而且公交站牌什么的就叫个华夏文旅不知道的还以为是公司呢,应该改个名字哪怕叫个海洋馆呢都比现在好
本帖点赞记录
点赞给态度,登录/注册 就能点赞
长安新星 赞同 +1
行到水穷处,坐看云起时
回复 支持 1 反对 0

使用道具 举报

孤岛Lv.5 发表于 2019-1-18 14:08:03 | 显示全部楼层 | 来自陕西
去过两次,还是不错的。《驼铃传奇》很惊喜
本帖点赞记录
点赞给态度,登录/注册 就能点赞
长安新星 赞同 +1
回复 支持 1 反对 0

使用道具 举报

东郊坑神Lv.8 发表于 2019-1-18 14:42:18 | 显示全部楼层 | 来自陕西
是不错,很多人还不知道
回复 支持 反对

使用道具 举报

长安新星Lv.7 发表于 2019-1-18 15:45:30 | 显示全部楼层 | 来自陕西
点赞
回复 支持 反对

使用道具 举报

秦风鲁韵Lv.8 发表于 2019-1-18 16:33:02 | 显示全部楼层 | 来自陕西
游乐设施太粗糙了,不舍得花钱么?
回复 支持 反对

使用道具 举报

老陕西Lv.0 发表于 2019-1-18 19:59:15 | 显示全部楼层 | 来自陕西
提示: 作者被禁止或删除 内容自动屏蔽
回复 支持 反对

使用道具 举报

意若Lv.5 发表于 2019-1-18 21:33:29 | 显示全部楼层 | 来自四川
游乐设施太粗糙了,不舍得花钱么?                                                        
回复 支持 反对

使用道具 举报

移动宽带贺Lv.6 发表于 2019-1-18 22:15:12 | 显示全部楼层 | 来自陕西
就是太贵了
回复 支持 反对

使用道具 举报

浐灞之滨Lv.10 发表于 2019-1-19 10:50:52 | 显示全部楼层 | 来自陕西
还不错,水上中心要能便宜点就最好了
回复 支持 反对

使用道具 举报

语言Lv.5 发表于 2019-1-19 11:35:06 | 显示全部楼层 | 来自陕西
马克赛 发表于 2019-1-18 12:34
不知道怎么样,虽然比乐华近,但是感觉交通不方便啊,而且周围人好像对这个都不太了解,感觉华夏文旅还是得 ...

没有乐华欢乐世界,好玩,门票也贵
回复 支持 反对

使用道具 举报

灞上Lv.0 发表于 2019-1-19 21:15:19 | 显示全部楼层 | 来自陕西
提示: 作者被禁止或删除 内容自动屏蔽
本帖点赞记录
点赞给态度,登录/注册 就能点赞
碧水无痕 赞同 +1
回复 支持 1 反对 0

使用道具 举报

路人小马Lv.6 发表于 2019-1-20 10:36:10 | 显示全部楼层 | 来自陕西
语言 发表于 2019-1-19 11:35
没有乐华欢乐世界,好玩,门票也贵

定位是不一样的,好吗
回复 支持 反对

使用道具 举报

多啦曾经不懂ALv.5 发表于 2019-1-20 19:34:24 | 显示全部楼层 | 来自陕西
马克赛 发表于 2019-1-18 12:34
不知道怎么样,虽然比乐华近,但是感觉交通不方便啊,而且周围人好像对这个都不太了解,感觉华夏文旅还是得 ...

交通很便利吧,就在地铁旁边,三环附近
回复 支持 反对

使用道具 举报

回复

您需要登录后才可以回帖 登录 | 注册

本版积分规则

中国互联网违法和不良信息举报中心 12377

陕西互联网违法和不良信息举报电话 029-63907150

免责声明:本网站不承担任何内容提供者的信息所引起的争议和法律责任,联系侵删

Copyright © 2001-2025 荣耀西安网 版权所有 All Rights Reserved. 陕ICP备2024053929号-1|陕公网安备61011302000104
关灯 在本版发帖
扫一扫添加微信客服
扫一扫下载客户端
返回顶部
快速回复 返回顶部 返回列表